5年缩水10亿 广州世界级鞋业商城挂牌出售?
来源:南方都市报
由越秀地产斥资30亿元打造的世界级鞋业主题商城——越秀·财富天地,在开业五年后公开挂牌出售。
截止今年7月31日,越秀·财富天地的资产总额仅剩20.16亿元。如果以当年投资额等同于资产计算,相当于5年间资产缩水了10亿元!
拿地就花了17亿,羁绊11年仍得割售
对于越秀·财富天地,越秀地产曾经寄予厚望。
越秀地产斥资30亿元打造的财富天地,就位于荔湾区西湾路,距离该商圈不远,属于广州三旧改造项目,前身为旧水泥厂厂区。当时的它被称为“广州规模最大的三旧改造项目”。2007年,越秀地产以17亿元的价格拿下这一项目。
和步云天地占地约1.7万平方米,总筑面积6万多平方米,相比财富天地堪称“巨无霸”。其用地面积18.5万平方米,拥有26万平方米超大体量、逾2500个铺位、2600个停车位,采用全方位的创新设计布局,曾获得2014年度第十二届中国土木工程詹天佑奖。
财富天地采用“专业市场经营、购物中心管理”的创新经营模式,是具有休闲购物特色、零售、批发、展贸一体化的国际鞋业主题商城,也被尊称为全球鞋业展贸的航母。
早在2013年8月14日开业时,商城就出租率就已达9成。
投资额30亿元,开业五年缩水10亿
这些年,全球鞋业迅速凋零。在国内,、、Nine West玖熙等鞋业品牌都曝出调整零售网点,多者每年减店1000家,甚至有品牌退市。而在国外,去年西班牙一鞋业协会倒闭,包括澳大利亚最古老的家族企业之一—— Betts鞋业连锁店也另寻买家。
而作为鞋业批发展贸的财富天地,自开业以来资产估值也一再缩水。
在2017年年中业绩报时,其估值同比2016年就下跌好几个亿,而且租金不太理想。彼时,仍是越秀地产总经理的林昭远回应媒体道,“这个商场当时是定位为皮具批发专业市场,由于欧洲整体经济的下滑,对皮具市场的打击也比较大”。林昭远彼时还表示:“管理层一直在调整经营策略,一些方案会在恰当的时候公布。”
事实上,到2018年3月,财富天地的商铺就已大量搬空。
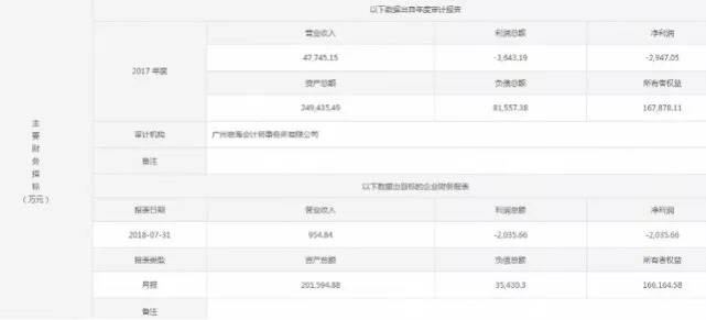
根据广州宏海会计师事务所有限公司审计,在2017年度,财富天地资产总额仍达24.9亿元,营业收入4.77亿元,利润总额亏本3643万元,负债8.1亿元。
而到了今年的7月31日,其资产总额已缩水至20.16亿元,今年来的营业收入仅有954.8万元,利润总额亏本2035.6万元,负债总额达3.5亿元。
相当于7个月里资产总额缩水4.8亿。与当年宣布的30亿投资总额相比,更在5年间缩水10亿元!
越秀地产割爱财富天地,售价面议
尽管当年开业前,财富天地曾被寄望与白马服装市场、广州国际金融中心共筑越秀地产财富“金三角”。其时,越秀地产还透露称,财富天地广场随着租质不断的提升,成长性会更加的显现出来,在条件成熟的合适时机,或将会像广州IFC一样注入越秀房托。
但南都记者从今年上半年越秀房托的半年报看见,越秀房产基金的8大项目产权面积将近100万平方米,当中并无财富天地。
事实上,早在今年7月25日,越秀集团就已批准意出售财富天地。
今年8月14日,越秀地产一把手张招兴、二把手朱春秀辞任,林昭远接任董事长、林峰接任副董事长,分别任一把手和二把手。三天后,8月17日,财富天地的出让公告正式发布。
出让资料显示,财富天地的控股公司广州市越汇房地产有限公司注册资本13.5亿元。以其拿地额就达17亿元计算,实际上相当于财富天地的投资额达到了30.5亿元。
财富天地的股东由庆和投资有限公司和广州市城市上建设开发有限公司构成,两者分别持有77.79%及22.21%的股份,都属于越秀地产旗下子公司。
在此次转让中,企业原股东放弃优先受让权,企业管理层也不参与受让。可以看出,越秀地产彻底割爱财富天地。
根据出让公告,财富天地的转让底价为面议,预挂牌时间为21个工作日,预挂牌结束日期为9月14日,越秀地产接受企业联合受让。
对于此次出让财富天地,越秀地产表示,可提升资产周转率和提高现金回流,提升其自身收购新增土地或其他地产公司股权的能力。
更多精彩内容,欢迎扫描下方二维码关注官方微信!











