耐克获AR系统专利 将设计全新运动装备
【-品牌动态】你可能不会想到,公司有这么喜欢 VR、AR 和 MR 技术。事实上,他们已经关注这些技术有2年的时间。耐克最近被授予了一项AR系统的专利,可以让人们设计衣服。根据该文件的描述,该系统允许你戴上头盔,虚拟修改衣服作品。也就是说,你的虚拟设计,能在一个现实的对象上,比如鞋子,并有效的创建你自己的模式和标示。
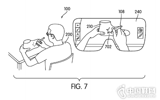
从上面的图片,就能看到具体的过程。使用笔状的工具,可以从显示屏的两侧工具栏中进行选择。图片中的人在鞋子上绘制星型图案,并使用右侧的选项,来更换鞋子的颜色。这也可以用在衬衫和短裤的设计中。
不用太惊奇,耐克从2014年12月就开始申请这项专利。微软前不久推出了 Hololens,如果这个专利实现的话,就可以为 Hololens 或 Magic Leap 提供一个有意思的 APP了。但是,如果这个专利旨在消费者用来设计自己的衣服,或者是耐克只用来内部实现快速创造原型的工具,那就需要另外分析啦。(中国鞋网-全球专业的中文鞋类加盟门户网站)











