亚马逊或开发3D系统,尺码不再成为退货理由
【-电商频道】鞋服不合身一直是消费者退网上订单的原因,但这对零售商来说就是一大笔损失。2015年市场调研公司IHL的报告预计,消费者因尺寸不合身而退货造成了全球零售商几十亿美元的损失。
随着亚马逊成为美国最大的服装网上零售商,退货数量只会增不会减,为了解决消费者因尺寸不合频繁退货的问题,亚马逊似乎正在开发3D建模系统,让消费者一次就能买到尺码合适的产品。
最近亚马逊提交的一份专利申请书中,描述了该系统几种可能的操作方法,并将基于“reference item(参考产品)”向消费者推荐尺码类似的产品。申请书中还提到,亚马逊将使用一种设备测量产品内部尺寸,并创建产品的3D模式存储在数据库中。当消费者购物时,亚马逊能根据参考产品的尺码推荐尺码类似的产品,虽然有一定的阈值。比如,如果你觉得鞋合脚,亚马逊将把匡威鞋作为参考产品,确保之后推荐的任何运动鞋也同参考的匡威鞋一样合脚。
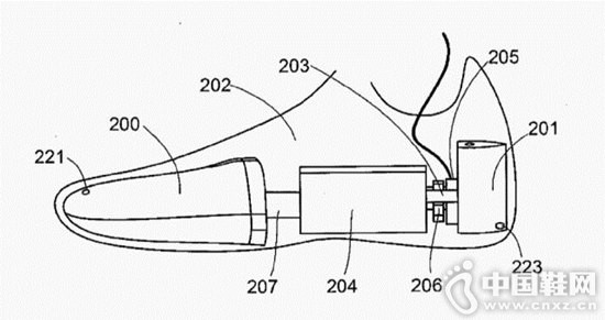
该系统还会将其他因素考虑进去,如产品使用目的,再以运动鞋为例,如跑步,或是产品包含多少弹力织物。申请书中有一张图片显示该设备测量鞋子的形式就跟鞋拔类似,还可以记录“鞋头宽、高、周长、内长及其他相关尺寸。”
亚马逊提交的专利申请书是2012年Shoefitr提交的延伸版。Shoefitr还为Nordstrom和Cole Haan等零售商服务,亚马逊去年悄然收购该公司,而且似乎还在继续开发该系统,虽然提交专利申请并不代表就会开发或使用这样的产品。
原版的专利申请书和亚马逊后来提交的专利申请书都称,该系统将用来建造“牛仔裤、紧身裤、上衣、胸罩、帽子、头饰以及手袋”等的3D模式。
要测量亚马逊销售的产品,甚至只有主要的产品都需要花很大的努力,但亚马逊也将解决这些问题。例如,为了增加服装销售,2015年,亚马逊在伦敦开了4.6万平方英尺的摄影棚,每年能拍摄50万张产品照片。(中国鞋网-全球专业的中文鞋类加盟门户网站)











